Bells and Earthquakes
Newpaper reports of bells ringing following the New Madrid earthquakes of 1811-1812 were widespread in the eastern US.
Can a Bell be a seismometer? Can we predict the ground motion required to Ring the bell?

FIGURE: Bells are mechanical systems of relatively simple design. The basic design element is the pendulum. The system is composed of coupled pendulums- the bell and the clapper. Both the bell and the clapper are physical pendulums. The bell system rotates in a vertical plane perpendicular to the rotation axis(in and out of the page for this photo).
( A. )
( B. )
( C. )
FIGURE: A.)Bells come in a large range of sizes, but the shape does not vary significantly with size. The figure shows a cross-section of our standard bell shape. The length L of the bell can be scaled to give a bell of any size. B.)Rotating the cross-section through 360 degrees generates a 3-d bell shape. The volume of this shape for a given L can be determined by numerical integration; and given the density of bronze the mass and weight can be determined. C.)The blue circles are weights (lbs) for different lengths of bells (from whitechappel bell foundry price list). The red plus is the weight estimated for each length bell using the standard bell shape as suggested in B. The estimated and actual weights compare well.
FIGURE: The shape and length of the clapper can be reasonably constrained. The first constraint is that the clapper is physically attached to the inside of the bell by flanges. The second constraint is that a circular arc must connect the striking point on the bell with the striking point on the clapper. Due to these constraints, the distance between the rotation axis of the clapper and the striking point must be nearly length L. The angle of rotation from the clapper's equilibrium position to the striking point on the bell is approximately 23 degrees (depending on the radius of the spherical mass concentration on the clapper).
A little PENDULUM physics to get started:
From the preceeding, parameters that need to be quantified (of bell and clapper) include the center of mass and the rotation axis.
Below are 5 Quicktime movies showing a bell swinging from 5 different perspectives.
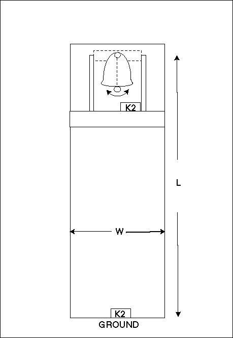
The tower couples the bell to the ground and so the response of the tower adds another complication.